Steckbarer Datenleitungsschutz, 2-polig, direkte Erdung, mit OS, 5 V

Art.Nr. 5080341 | EAN 4012196742172

2
2-polig
Klemme
Produktbeschreibung
Produktbeschreibung
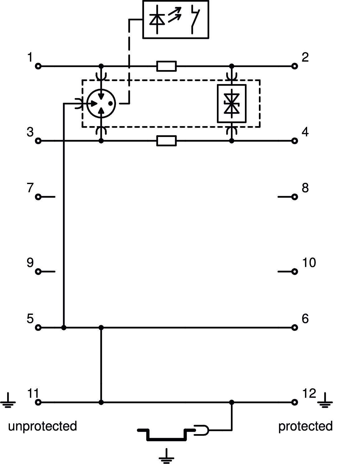
Steckbarer Datenleitungsschutz Typ 1+2/D1+C2 für den Einsatz in der Mess-, Steuer- und Regelungstechnik

• Schutzgerät für mehradrige Systeme
• Direkte Schirmerdung
• Frequenzbereich bis 100 MHz
• Erdung über die Hutschiene oder Anschlussleitung möglich
• Geringe Baubreite von 17,5 mm
• Hohe Anlagenverfügbarkeit - keine Signalunterbrechung ohne Schutzmodul
• Mit optischer Signalisierung und Möglichkeit zur Fernsignalisierung über die Spannungsversorgung PDP-PS
• inklusive integriertem Busverbinder

Anwendung: Universeller Blitz- und Überspannungsschutz für Datenübertragungsgeräte in der MSR-Technik.
  • 5 Jahre Gewährleistung
  • Communautés Européennes, EG Konformitätserklärung nach EG-Richtlinien
  • Mess- Steuer- und Regelanlagen
  • Übergang von LPZ 0 bis 2.
  • Installation electrotechnical expertise
  • CO₂-Fußabdruck (PCF)
Technische Daten

Anschlussmöglichkeiten

Anschlussquerschnitt flexibel max. 1,5 mm²
Anschlussquerschnitt flexibel min. 0,14 mm²
Anschlussquerschnitt mehrdrähtig max. 2,5 mm²
Anschlussquerschnitt mehrdrähtig min. 0,14 mm²
Anschlussquerschnitt starr max. 2,5 mm²
Anschlussquerschnitt starr min. 0,14 mm²
Anzahl Pole 2
Ausführung 2-polig
Breite 17,5 mm
CO2 Fußabdruck (GWP) Cradle-to-Gate 1,0625 kg CO2e / 1 Stück
Dimension 5V
Einfügedämpfung (Insertion loss) ≤3 dB
Erdung über: Anschlussleitung/Hutschiene
Gesamt-Ableitstoßstrom (10/350) 5 kA
Gesamt-Ableitstoßstrom (8/20) 20 kA
Grenzfrequenz 100 MHz
Höchste Dauerspannung AC 4,2 V
Höchste Dauerspannung DC 6 V
Höhe 95 mm
Impulsstrom 2,5 kA
Kapazität (Ader-Ader) ≤30 pF
Kapazität (Ader-Erde) ≤30 pF
Kategorie Typ 1+2 / D1+C2
Länge 75 mm
Längswiedrstand 1.2 ± 5%
LPZ 0→2
Montage Eingang / Ausgang Schraubklemmen
Nennableitstoßstrom (8/20 µs) 10 kA
Nennlaststrom AC 0,425 A
Nennlaststrom DC 0,6 A
Nomineller Ableitstoßstrom In nach C2 (total) 20 kA
Prüfnorm IEC 61643-21
Schirm Anschluss ja
Schirmung direkt
Schutzart IP20
Schutzpegel Ader - Ader 100 V
Schutzpegel Ader - Erde 850 V
Serienwiderstand pro Ader 1,2 Ω ± 5%
Signalisierung am Gerät keine
SPD nach EN 61643-11 Typ 1+2
SPD nach IEC 61643-1 class I+II
SPD nach IEC 61643-21 Class I+II / D1+C2
Stecksystem Klemme
Stoßstromfestigkeit Ader - Ader 10 kV / 5 kA
Stoßstromfestigkeit Ader - Erde 10 kV / 5 kA
Temperatureinsatzbereich max. 80 °C
Temperatureinsatzbereich min. -40 °C
Alle Typen

Alle Typen

Typ Anzahl Pole Ausführung Höchste Dauerspannung AC Höchste Dauerspannung DC Stecksystem Art.Nr. Menge kl. VKE Listenpreis exkl. MwSt.
PDP-2-5-D-OS 2 2-polig 4,2 V 6 V Klemme 5080341
1 Stück 214,90 CHF Preis / 1 Stück
PDP-2-12-D-OS 2 2-polig 12 V 16 V Klemme 5080343
1 Stück 233,50 CHF Preis / 1 Stück
PDP-2-24-D-OS 2 2-polig 21 V 30 V Klemme 5080345
1 Stück 233,50 CHF Preis / 1 Stück
PDP-2-48-D-OS 2 2-polig 37 V 52 V Klemme 5080347
1 Stück 233,50 CHF Preis / 1 Stück
Downloads

Download

Download

EU-Konformitätserklärung PDP-2-5-D-OS / 5080341 , 0.23MB , pdf
Download

Download
Download

PDP-2-5-D-OS / 5080341
Download