Bride de fixation 2056 pied H simple, plaque de pression en matière plastique, A2

Réf. 1186316 | EAN 4012196847716 | ELDAS-No. 120 100 455

Description du produit
Description du produit
Bride de fixation avec pied tête de marteau, plaque de pression en matière plastique en polypropylène. Pour montage vertical et horizontal d’1 câble individuel sur des rails profilés en C. Pour une ouverture de 16 – 17 mm. Avec vis à 1 filet sur plaque de pression, tête de vis hexagonale universelle SW10, avec fente et empreinte cruciforme. Convient au montage en intérieur et en extérieur. L’utilisation d’une contre-plaque est recommandée.


  • Fédération allemande des industries de l'éléctronique et de l'ingénierie de l'information
  • sans halogène ; sans chlore, fluor et brome
  • Communautés Européennes, CE Déclaration de conformité selon directives CE
  • Déclaration de conformité UKCA
  • Ouverture : 16-17 mm
  • Bride de fixation rapide pour rail profilé en C, ouverture 16-17 mm
  • Empreinte CO₂ (PCF)
  • Emballage sans plastique
  • Emballage intégralement composé de carton recyclé
Caractéristiques techniques

Caractéristiques techniques

Avec carter en plastique oui
Avec contre-plaque non
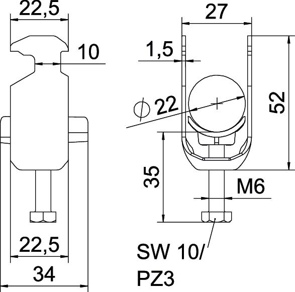
Cote A 22,5 mm
Cote B 27 mm
Cote c 34 mm
Cote L 35 mm
Cote t 1,5 mm
Dimension 16-22mm
Dimension G (mm) M6
Dimension H 52 mm
Empreinte CO2 (GWP) du berceau à la porte 0,2249 kg CO2e / 1 Pièce
Épaisseur de tôle 1,5 mm
Filetage M6
Hauteur 52 mm
Largeur 27 mm
Longueur 22,5 mm
Longueur dimensions extérieures 34 mm
Matériau acier inoxydable 1.4301
Matériau de la plaque Plastique
max. Couple de serrage 3 Nm
Nombre de câbles/tubes 1
Ouverture 10 mm
Plage de serrage D max. 22 mm
Plage de serrage D min. 16 mm
pour diamètre de tube max. 22 mm
pour diamètre de tube min. 16 mm
Pour rail avec largeur de fente (avec intervalle) max. 17 mm
Pour rail avec largeur de fente (avec intervalle) min. 16 mm
Qualité du matériau de la plaque Polypropylène
Sans halogène oui
Supplément matériau Acier inoxydable
Supplément surface non traité
Surface nu, traité
Type de montage Rail profilé
Tous les types

Tous les types

Type Plage de serrage D min. Plage de serrage D max. max. Couple de serrage ELDAS-No. Réf. Quantité Plus petite unité de vente Prix de tarif TVA excl.
BS-H1-K-12 A2 8 mm 12 mm 3 Nm 120 100 435 1186302
50 Pièce 457,73 CHF Prix / 100 Pièce
BS-H1-K-16 A2 12 mm 16 mm 3 Nm 120 100 445 1186309
50 Pièce 464,89 CHF Prix / 100 Pièce
BS-H1-K-22 A2 16 mm 22 mm 3 Nm 120 100 455 1186316
50 Pièce 493,48 CHF Prix / 100 Pièce
BS-H1-K-28 A2 22 mm 28 mm 3 Nm 120 100 465 1186322
50 Pièce 550,70 CHF Prix / 100 Pièce
BS-H1-K-34 A2 28 mm 34 mm 3 Nm 120 100 475 1186329
50 Pièce 693,76 CHF Prix / 100 Pièce
BS-H1-K-40 A2 34 mm 40 mm 3 Nm 120 100 485 1186336
25 Pièce 722,40 CHF Prix / 100 Pièce
BS-H1-K-46 A2 40 mm 46 mm 5 Nm 120 100 495 1186342
25 Pièce 1.009,07 CHF Prix / 100 Pièce
BS-H1-K-52 A2 46 mm 52 mm 5 Nm 120 100 505 1186349
25 Pièce 1.053,77 CHF Prix / 100 Pièce
BS-H1-K-58 A2 52 mm 58 mm 5 Nm 120 100 515 1186356
25 Pièce 1.079,58 CHF Prix / 100 Pièce
BS-H1-K-64 A2 58 mm 64 mm 5 Nm 120 100 525 1186362
15 Pièce 1.109,26 CHF Prix / 100 Pièce
BS-H1-K-70 A2 64 mm 70 mm 5 Nm 120 100 535 1186369
15 Pièce 1.609,32 CHF Prix / 100 Pièce
BS-H1-K-76 A2 70 mm 76 mm 5 Nm 120 100 545 1186376
10 Pièce 1.784,13 CHF Prix / 100 Pièce
Téléchargements

Télécharger

Télécharger

Déclaration de conformité UE BS-H1-K-22 A2 / 1186316 , 0.10MB , pdf
Télécharger

BS-H1-K-22 A2 / 1186316 BS-H1-K-22 A2 / 1186316
Télécharger